

Стандарт изготовления изделия: Серия 86
Перегородки ПС 5 п – являются неотъемлемыми составляющими при строительстве кирпичных домов в несколько этажей с поперечными несущими стенами. Визуально они напоминают прямоугольные плиты из гипсобетона толщиной 80 мм. Соединение таких неответственных стенок с основными несущими элементами зданий осуществляется с использованием гипсовых либо гипсоизвестковых растворов и полукруглых канавок, специально сделанных на их верхних и боковых гранях. Для сохранения целостности структуры перегородок при перевозке либо монтаже на нижних их гранях по всей длине устанавливаются деревянные опорные брусья сечением 40 на 80 мм. Если вы хотите использовать облегченные перегородки из гипсобетона при строительстве кирпичных жилых зданий в несколько этажей, то в Серии 85 есть возможность ознакомиться разнообразными вариантами типовых конструкций неответственных стенок.
1. Варианты маркировки
На каждую произведенную продукцию из гипсобетона обязательно наносится условное обозначение по буквенно-цифровой системе. В Серии 85 приведены варианты маркировки перегородок. Этот регламентирующий документ рекомендует указывать на поверхности изделия вид продукции, вариант исполнения, дату изготовления и массу.
1. ПС 1;
2. ПС 11;
3. ПС 2;
4. ПС 4;
5. ПС 3;
6. ПС 12;
7. ПС 13;
8. ПС 14.
2. Основная сфера применения
Облегченные перегородки ПС 5 п, изготовленные из гипсобетона, пользуются широкой популярностью при обустройстве неответственных стен в кирпичных зданиях разнообразного функционального применения. Они позволяют оптимально осуществить зонирование пространства в помещениях различного пользования. Так как гипсобетон отличается достаточной универсальностью и практичностью, то дает возможность довольно быстро и дешево монтировать перегородочные стенки любой конструкции. Спектр применения перегородок ПС 5 п довольно широк, они пользуются большой популярностью при обустройстве коммерческих, жилых, промышленных объектов. Стены из гипсобетона отличаются повышенной устойчивостью к влажности, вследствие чего их часто используются для отделения ванных комнат, санузлов, других санитарных помещений. Благодаря оригинальной конструкций плоских каркасов из деревянных реек с сечением 10 на 10 мм, перегородочные панели обладают способностью сохранять форму и целостность структуры в течения длительного периода. Правда, для предотвращения попадания опасных концентраций влаги необходимо тщательно заделывать места стыков облегченных перегородок ПС 5 п из гипсобетона с другими конструктивными элементами кирпичных зданий. В проектной Серии 85 приведены разнообразные варианты типовых конструкций этих изделий, условия грамотного их подбора, особенности монтажа и эксплуатации.
3. Обозначение маркировка изделия
На перегородки ПС 5 п из гипсобетона в соответствии с требованиями Серии 85 наносятся условные обозначения по буквенно-цифровой системе. Оно кратко предоставляет информацию о виде продукции и номере типоразмера. Например, если мы попробуем расшифровать маркировку на боковой поверхности перегородки ПС 5 п, то узнаем, что символы условной кодировки имеют следующие значения:
1. ПС – перегородка из гипсобетона для кирпичных зданий;
2. 5 – порядковый номер типоразмера перегородочной панели;
3. п - конструктивные особенности.
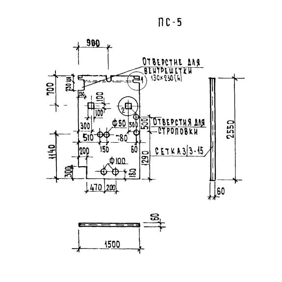
Планируя возведение кирпичных зданий с поперечными несущими стенами, желательно обратить внимание на основные параметры перегородок ПС 5 п:
Длина = 1500;
Ширина = 2550;
Высота = 60;
Вес = 370;
Объем бетона = 0,23;
Геометрический объем = 0,2295.
4. Изготовление и основные характеристики
Планируя организовывать производство перегородок ПС 5 п, желательно предварительно ознакомиться с тонкостями технологии их изготовления, особенностями сборки усиливающих каркасов, требованиями к условиям проведения испытаний и приемки изготовленной продукции, описанными в проектной нормативной Серии 86. Специалисты, разработавшие ее, рекомендуют во время производства перегородочных панелей применять гипсобетоны с пределом прочности при сжатии не ниже 35 кг/см2. Подготовленные формовочные растворы на их основе позволят изготавливать бетонную облегченную продукцию, отличающуюся достаточной прочностью, жесткостью, устойчивостью к образованию трещин. Формовку перегородок ПС 5 п желательно выполнять методом проката. Такая технология дает возможность получать перегородочные панели с идеально ровной поверхностью. Довольно высокая прочность у таких перегородок достигается за сет закладывания в их структуру плоских каркасов, собранных из деревянных реек сечением 10 на 10 мм.
5. Транспортировка и хранение
Облегченные перегородки ПС 5 п из гипсобетона рекомендуется складировать и перевозить в специальных кассетах. Подробнее с условиями транспортировки и хранения этих изделий можно ознакомиться в Серии 86, специально разработанной для всех составляющих кирпичных домов с поперечными несущими стенами.