

О товаре:
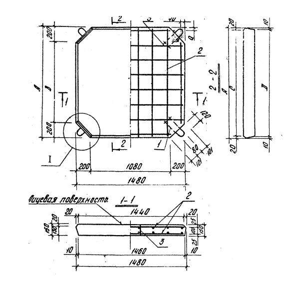
- Длинна: 1480 мм.
- Ширина: 1480 мм.
- Высота: 150 мм.
- Вес: 853 кг.
- ГОСТ, Серия: Серия 3.820-15 скачать
- Объем бетона: 0,33 м3
- Геометрический объем: 0,3286 м3
Стандарт изготовления изделия: Серия 3.820-15
Плита крепления ПКП 15-15 г - это квадратная железобетонная плита, с небольшими скосами по углам, обладающая высокими прочностными характеристиками. На скосах присутвуют монтажные петли, для удобства погрузочно-разгрузочных работ. Относится данная плита крепления к конструкциям водохозяйственного строительства и используется для крепления и защиты верховых откосов земляных насыпных плотин высотой до пятнадцати метров от волновых и ледовых воздействий. ПКП 15-15 г предусмотрены для укладки на откосы плотин, сложенных их песка или глинистого грунта. Могут применяться в условиях как неагрессивной, так и агрессивной водной среды.
Расшифровка маркировки изделия
Любое железобетонное изделие имеет свою определенную маркировку, в которой заложены основные характеристики изделия в кратком сжатом виде. Марка включает в себя числовые и буквенные символы. Так, если рассматривать расшифровку марки ПКП 15-15 г, то можно увидеть следующее:
1. ПКП - плиты, предназначенные для укладки на гребень плотины под проезжую часть;
2. 15 - длина в дм;
3. 15 - толщина в см;
4. г - для крепления гребня проезжих плоитин.
На торцевой и верхней поверхности готовой плиты крепления должны быть нанесены несмываемой краской: марка изделия (с указанием серии типового проекта), дата изготовления, наименования завода-производителя, штамп отдела технического контроля.
Материалы и производство
Железобетонные плиты крепления ПКП 15-15 г изготавливаются в заводских условиях согласно Серии 3.820-15.Основным материалом при производстве является высокопрочный гидротехнический бетон М200.По водонепроницаемости используется бетон марки не ниже W4 и по морозостойкости - не ниже F150. Отпускная прочность бетона плит в момент отгрузки с завода, должна быть не меньше 70% от проектной прочности на сжатие. Материалы, применяемые при изготовлении бетона, должны отвечать требованиям определенного норматива и обеспечивать получение бетона заданной марки.
Для придания еще большей прочности плитам ПКП 15-15 г их армируют. Это происходит с помощью сварных сеток и каркасов, изготавливаемых из горячекатаной арматурной стали класса А-I и A-III. Для удобства монтажа в тело изделия закладывают петли, выполняемые из горячекатаной гладкой арматурной стали класса А-I. Толщина защитного слоя бетона до рабочей арматуры должна быть не менее двух сантиметров.
Внешний вид и качество поверхности железобетонных плит ПКП 15-15 г должны удовлетворять определенным требованиям, таким как: отсутствие наплывов бетона и раковин, обнажение арматуры (кроме выпусков). Готовые плиты крепления проходят проверку на заводе-изготовители на соответствие заданным параметрам и подвергаются внешнему осмотру, обмеру и испытанию на прочность бетона. При получении удовлетворительных результатов, партии плит присваивается специальный паспорт, подтверждающий качество изделий.
Хранение и транспортировка
Готовые плиты ПКП 15-15 г складируют в обустроенных для этого помещениях, с ровным плотным основанием. Изделия сортируются по маркам, при этом, требующие ремонта плиты должны храниться отдельно. На складе конструкции складываются в штабеля, с укладкой плит в рабочем положении (лицевой поверхностью вверх). Нижний ряд ПКП 15-15 г укладывается на сухие деревянные подкладки. Между горизонтальными рядами на расстоянии 75 см от концов изделий также устанавливаются специальные прокладки длиной 2300 мм, шириной и толщиной 100 мм. Высота штабеля должна быть не более двух метров. Через каждые два штабеля в одном направлении устраиваются проходы, и через минимум 25 метров в другом. При погрузке ПКП 15-15 г должны опираться на деревянный инвентарь и быть укрепленными от смещения и ударов. Зазор между плитами и бортами ТС должен быть не меньше десяти сантиметров.