О товаре:
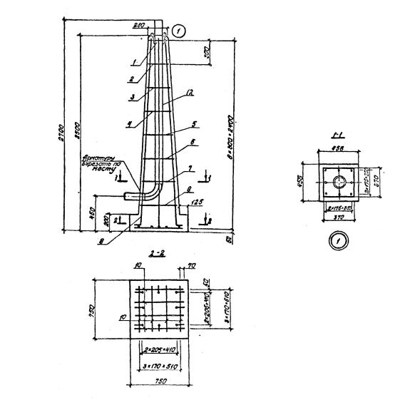
- Длинна: 2500 мм.
- Ширина: 750 мм.
- Высота: 750 мм.
- Вес: 2330 кг.
- ГОСТ, Серия: Серия 7.402-3 скачать
- Объем бетона: 0,97 м3
- Геометрический объем: 1,4062 м3
Стандарт изготовления изделия: Серия 7.402-3
Колонка свечей продувочная (Колонка Д=80) – это железобетонное изделие, имеет форму усеченной пирамиды с квадратным основанием. Такие изделия используются для газопроводов. Основное их предназначение продувка (очистка) газа от воздуха, примесей и конденсатов, а также взятие проб. Серией 7.402-3 запроектированы колонки для трубопроводов с диаметром трубы от восьмидесяти до трёх ста миллиметров. Такие строительные элементы разработаны для применения в зонах с расчетной температурой наружного воздуха не ниже -40 градусов по Цельсию, вне зоны вечномерзлых грунтов.
Расшифровка маркировки изделия
Любое железобетонное изделие имеет свою определенную маркировку, которая облегчает работу с изделием при поиске в номенклатурном ряду. В маркировке обычно заключены краткие сжатые сведения об изделии. Так если рассматривать расшифровку Колонка Д=80, то можно увидеть следующее:
1. Колонка – наименование изделия;
2. Д=80 – диаметр трубы, для которой предназначена колонка.
Маркировочные знаки и символы наносятся на наружную поверхность готового изделия темной краской, стойкой к влаге и ультрафиолету, а также другим воздействиям окружающей среды. Также там может указываться индекс изготовителя, дата выпуска, масса в килограммах и класс бетона по прочности на сжатие. Маркировка конструкции должна строго выдерживаться в проектах, заказах на изготовление и в готовых конструкциях, выпускаемых на строительство
Материалы и производство
Железобетонные колонки свечей продувочных для нефтехимической отрасли изготавливают в заводских условиях, с учетом пометок, чертежей и спецификации из Серии 7.402-3. Основная цель технологического процесса - формирование изделия заданной формы и размеров, а также высокой плотности, которая достигается уплотнением бетонной массы. Основным материалом для производства является бетон марки М200, который получается с помощью смешивания однородных масс вяжущих веществ с водой, добавками и заполнителями. Марка бетонной смеси по морозостойкости равна F100.Марка по водонепроницаемости определяется автором проекта индивидуально, в зависимости от климатических условий района строительства. Для придания прочности изделия его армируют. Армирование - это способ увеличения несущей способности конструкции с помощью материалов, имеющих высокие прочностные свойства. Армирование Колонка Д=80 происходит с помощью сборного пространственного каркаса, изготовленного из арматурной стали класса А-I, А-III. Соединение его стержней происходит посредством контактно - точечной сварки, в соответствии с определёнными регламентами, указанными в серии изготовления. В виде дополнительных конструктивных особенностей в изделие используются разнообразные закладные детали из круглой стали Ст3.Они предусмотрены для восприятия усилий от конструкции, которые могут возникнуть при монтаже. По итогу производства колонки проходят обязательный технический контроль, целью которого является проверка его главных характеристик: прочности, жесткости, трещиностойкости, а также соответствие заданным геометрическим параметрам. В конце изделию присваивается документ, подтверждающий его качество.
Хранение и транспортировка
Сохранность колонок железобетонных обеспечивается корректной погрузкой и складированием, во время того и другого под изделия должны подкладываться специальные деревянные подкладки. Перевозка осуществляется различными видами транспортами, главное условие здесь – наличие у транспортного средства необходимого инвентаря, который исключит вероятность порчи изделия.

