О товаре:
- Длинна: 2970 мм.
- Ширина: 4000 мм.
- Высота: 1700 мм.
- Вес: 8600 кг.
- ГОСТ, Серия: Серия 3.006-2 скачать
- Объем бетона: 3,45 м3
- Геометрический объем: 20,196 м3
Стандарт изготовления изделия: Серия 3.006-2
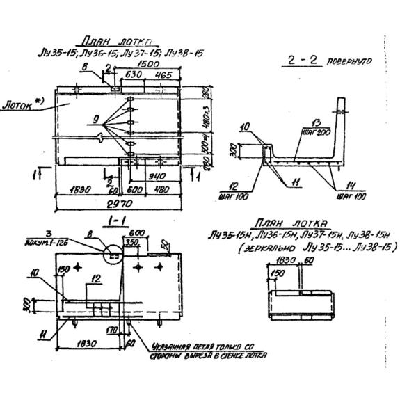
Лотки теплотрасс угловые Лу 38-15 (3.006-2) – строительные элементы, которые представлены в виде скобы и применяются, как правило, для узлов трасс каналов и тоннелей. Обычно этими железобетонными изделиями обустраиваются сложные места и углы. В лотке на боковой части имеются специальные вырезы, которые предназначены для состыковки с рядовыми лотковыми элементами. Они позволяют создавать повороты, а так же различные ответвления и узлы каналов под разными углами. Железобетонные изделия имеют ровную гладкую поверхность и обладают повышенными прочностными характеристиками, так как при эксплуатации они подвергаются воздействию агрессивной внешней среды.
Расшифровка маркировки
Лотки Лу 38-15 (3.006-2) маркируют согласно Серии 3.006-2. Знаки не только широко используется в технической документации, но и пишутся прямо на изделиях для удобства при их сортировке. Рассмотрим подробно маркировку лотка углового Лу 38-15 (3.006-2):
1. Лу – лоток угловой;
2. 38 – порядковый номер изделия;
3. 15 – нагрузка.
Марки лотков, которые отличаются зеркальным расположением отверстий содержат дополнительную букву «н».
Маркировочные данные наносятся на боковую грань изделия и дополняются логотипом предприятия, номером парии, датой производства. Для этого наносится черная несмываемая краска, которая имеет в своем составе компоненты, способствующие высокому сопротивлению атмосферным осадкам, влагоустойчивости, так же можно использовать еще и трафареты. На лицевой части изделия ставится штамп отдела контроля качества.
Основные характеристики и изготовление
Выпуск лотков угловых Лу 38-15 (3.006-2) осуществляется на специально оборудованных заводах в полном соответствии с требованиями такого норматива, как Серия 3.006-2.При изготовлении лотков должен быть обеспечен систематический пооперационный контроль за качеством бетона, арматуры, сварных соединений. Технология производства для данного вида изделий представляет собой процесс вибропрессования. Железобетонные изделия производятся из бетона марки М300. При производстве, в лотках предусматриваются закладные детали, которые используются для крепления кабелей и других коммуникаций. Для создания арматурного каркаса применяется арматурная сталь класса A-III согласно ГОСТ 5781-75. Обнажение арматуры на поверхности изделия не допустимо. Железобетонные изделия нужно обрабатывать специальным составом, чтобы защитить их от воздействия агрессивной внешней среды. Необходимо обязательно произвести гидроизоляционную обработку, тем самым защитив изделие от воздействия грунтовых вод. Для удобства монтажа, лотки снабжаются подъемными петлями, для которых следует принимать сталь класса A-I по ГОСТ 5781-75. Готовая продукция должна быть принята отделом технического контроля предприятия-изготовителя. На изделии не должно быть никаких трещин, поверхность обязательно должна быть ровной и гладкой. При приемке следует особое внимание обращать на правильность маркировки и ориентирующих знаков. Монтаж конструкций осуществляется с помощью специальной техники.
Транспортировка и хранение
Лотки теплотрасс угловые Лу 38-15 (3.006-2) обязательно сортируют по маркам и номерам партий и складывают в ровные ряды. Транспортируют лотки только на специальных технических средствах. При погрузочно-разгрузочных работах необходимо соблюдать технику безопасности и осторожность, чтобы не повредить продукцию. Запрещается скидывать изделия, подвергать толчкам и падениям.

