О товаре:
- Длинна: 3000 мм.
- Ширина: 300 мм.
- Высота: 300 мм.
- Вес: 700 кг.
- ГОСТ, Серия: ГОСТ 19804.4-78 скачать
- Объем бетона: 0,28 м3
- Геометрический объем: 0,27 м3
Стандарт изготовления изделия: ГОСТ 19804.4-78
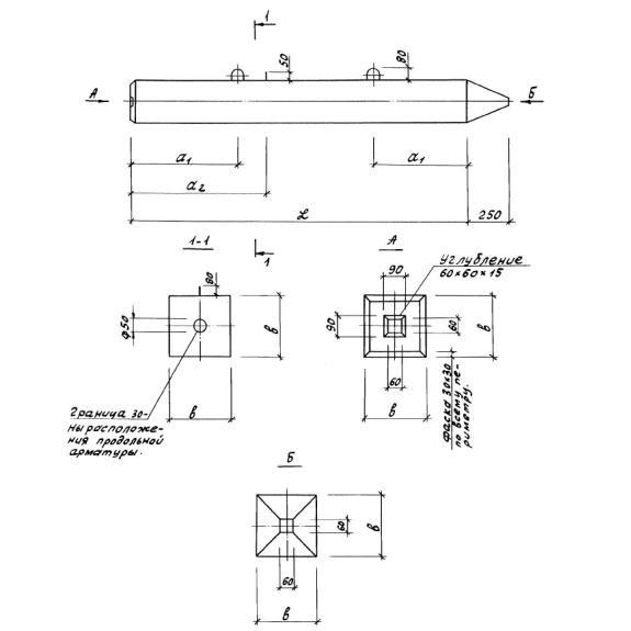
Свая квадратного сечения СЦ 3-30 представляет собой железобетонную удлиненную балку с квадратным сечением, один торец которой имеет четырехгранное острие, облегчающее проникновение изделия в почву, с другой стороны - ровная поверхность, принимающая ударные нагрузки при заглублении сваи в грунт. Особенность таких строительных элементов - отсутствие поперечного армирования ствола. Сваи данного класса заглубляются в грунт ударным методом до соприкосновения с глубокозалегающими пластами, обладающими требуемыми грузонесущими показателями. Изделия применяются в качестве связующей конструкции между фундаментом строения и плотными породами основания. Основная сфера применения - строительство народнохозяйственных объектов различной этажности в регионах со слабыми, неустойчивыми грунтами, не имеющих достаточной плотности, илистых или болотистых участков, торфяников, на насыпях природного и искусственного происхождения.
Расшифровка маркировки изделия
Условно обозначаются железобетонные детали марками, которые состоят из буквенных и цифровых индексов. Марка сваи СЦ 3-30 отражает ее геометрические размеры и армирование и расшифровывается как:
1. СЦ - свая со стержневой арматурой,
2. 3 - длина (м),
3. 30 - ширина боковой грани (см).
На боковой поверхности каждой готовой конструкции должны быть обозначены: марка сваи и производителя, дата выпуска, отпускной вес, печать ОТК. В качестве дополнительной информации так же могут быть указаны характеристики прочности, класса армирующего металла.
Материалы и производство
Согласно требованиям ГОСТ 19804.4-78, ударные сваи квадратного сечения СЦ 3-30 производятся с использованием тяжелых сортов бетона, прочностной класс которого в готовом изделии должен быть не ниже М300. В качестве засыпного наполнителя применяется щебень из гранита или гравия с частицами не более 20 мм.
В зависимости от условий эксплуатации в зоне, где будет работать свая, проектной организацией по согласованию с изготовителем принимается тип армирования. По существующим стандартам предусмотрено три варианта: сваи со стержневой напрягаемой арматурой из стали классов АIV, АV, АтIV, АтV и проволоки ВрII, с проволочной арматурой класса ВрII, с арматурой из канатов К7.
В острие сваи закладывается спиральный проволочный элемент, повышающий прочность наконечника, несущего максимальные нагрузки при забивании. Для усиления головы сваи, принимающей на себя ударные воздействия при погружении, в качестве дополнительного каркаса применяются парные сетки в соответствии с ГОСТ 6727-80.
Партия готовых конструкций проходит приемочный контроль на прочность, жесткость, раскрытие трещин, оцениваются так же их внешний вид, точность линейных параметров, толщины защитных слоев бетона. По результатам испытаний сваи поставляются потребителю с соответствующими сертификатами качества.
Хранение и транспортировка
Складируются сваи СЦ 3-30 в горизонтальном положении на площадках с ровным рельефом, уложенными штабелями. Под нижний ряд и между слоями конструкций требуется подкладывать деревянные прокладки, обеспечивающие их целостность.
При изготовлении свай допускается не устанавливать подъемные петли, поэтому перемещение изделий может осуществляться с помощью тросов подъемника, которые захлестываются вокруг тела сваи. Подъем конструкций должен проводиться с использованием двух точек крепления, расположенных на удалении от торцов.
Перевозку свай надлежит выполнять специальным транспортом с погрузочной платформой, длина которой соответствует размерам изделий.

