О товаре:
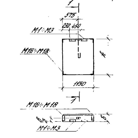
- Длинна: 1150 мм.
- Ширина: 200 мм.
- Высота: 1180 мм.
- Вес: 400 кг.
- ГОСТ, Серия: Серия 1.432-14/80 скачать
- Объем бетона: 0,22 м3
- Геометрический объем: 0,2714 м3
Стандарт изготовления изделия: Серия 1.432-14/80
Панель стеновая ПС 115-12-20 – строительная конструкция, выполненная из железобетона, имеет плоскую однослойную прямоугольную форму. Панели, изготовленные по Серии 1.432-14/80 применяются для возведения несущих и подвесных стен производственных отапливаемых зданий. Применение стеновых панелей возможно в неагрессивных, средне и слабоагрессивных газовых средах. Для защиты стен от атмосферных воздействий и придания им декоративного вида на верхнюю поверхность панели наносят отделочный или защитно-отделочный слой, это делается в заводских условиях. После монтажа швы между панелями, как правило, должны заполняться цементным раствором и упругими синтетическими подкладками, а также герметизирующими мастиками. Применение для заполнения одного только цементного раствора допустимо только между панелями, сделанными из легкого бетона на пористых заполнителях. Стеновые панели по назначению в здании подразделяют на: рядовые, панели-перемычки, подкарнизные, подкарнизные панели-перемычки, парапетные и парапетные панели-перемычки, панели простенков.
Расшифровка маркировки
Маркировка панели это буквенно-числовая комбинация. Маркировочное обозначение ПС 115-12-20 расшифровывается:
1. ПС – панель стеновая;
2. 115 – длина панели, (в см.);
3. 12 – высота, (в дм.);
4. 20 – толщина,(в см.).
Материалы и производство
Основным материалом для изготовления стеновых панелей является бетон. Может использоваться легкий бетон на пористых заполнителях, либо ячеистый бетон. Выбор марки зависит от проектных характеристик возводимого здания. По устойчивости к различным атмосферным воздействиям марка выбирается, учитывая конкретные условия. Для заполнения проемов для окон можно использовать переплеты длиной 6.0; 4.8; 3.0; 2.4; и 1.8 м. высотой кратной 0.6 м. временно до их освоения. В отдельных случаях можно использовать пролеты 1.5 и 4.5 метров. Снизу и сверху оконного проема должны быть установлены панели-перемычки. Армирование панелей осуществляется стальной проволокой круглого диаметра сваренной точечной сваркой в плоский каркас и отдельными стержнями из стали марки AIII,AII, B-I. Сварку каркасов рекомендовано производить в вертикальном положении это позволяет выполнить сварку пересекающихся элементов с обеих сторон.
Для соединения панелей с другими изделиями в конструкции здании, конструктивные элементы изготавливаются с закладными деталями. Монтаж закладных деталей осуществляется путем их фиксации на бортах металлической формы, в которой, происходит процесс изготовления панели. Извлекать готовые изделия из металлической формы следует, когда бетон достиг достаточной прочности. Извлечение осуществляется с помощью специального кантователя. Для подъема и монтажа предусмотрены петли из гладкой стали, марка выбирается относительно климатических условий, в которых будут проходить эти манипуляции. Все металлические изделия должны проходить обработку против коррозии.
Испытание панелей и оценка качества проходит по ГОСТ 8829-77.
Транспортировка и хранение
Хранить изделия следует на площадках, подготовленных для сортирования стеновых панелей. Погрузку, разгрузку и монтаж следует производить при помощи захвата специально предназначенных петель. При перевозке следует соблюдать все меры безопасности и исключить действия, которые могут привести к нарушению целостности конструктивного элемента. Запрещено перемещать изделия волоком и разгружать со свободным их падением.

