 
                                                 
                                                                                            О товаре:
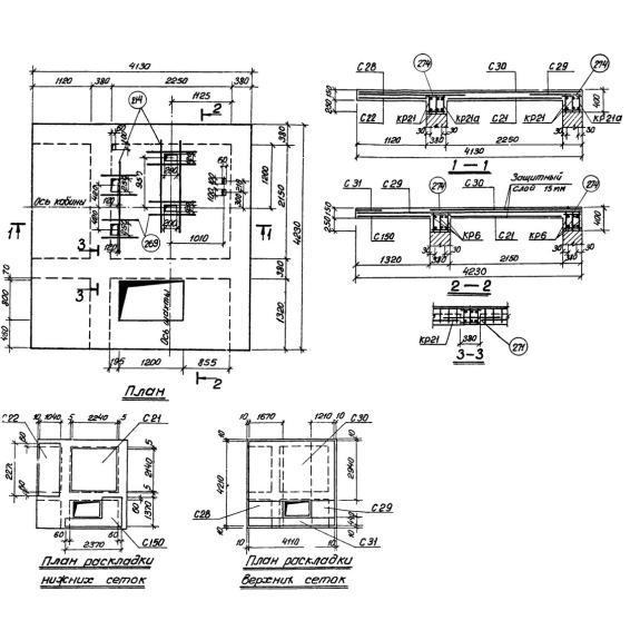
- Длинна: 4130 мм.
- Ширина: 4230 мм.
- Высота: 400 мм.
- Вес: 9750 кг.
- ГОСТ, Серия: Серия 1.489-1 скачать
- Объем бетона: 3,9 м3
- Геометрический объем: 6,988 м3
Стандарт изготовления изделия: Серия 1.489-1
Плита перекрытия шахты П 12 – высокопрочное железобетонное изделие, имеет плоскую форму с четырьмя гранями. Данная конструкция запроектирована для покрытия и перекрытия шахт и машинных помещений грузовых, пассажирских, грузопассажирских лифтов в многоэтажных производственных зданиях. Плита перекрытия выполняется с запроектированными отверстиями, для инженерных коммуникаций. Конструкция плиты позволяет выдерживать достаточно большие нагрузки до 2500 кгс/м2. Рабочие чертежи, представленные в Серии 1.489-1. Плита принята для зданий с унифицированной высотой этажа: 3.6; 4.2; 4.8; 6.0; 7.2; 10.8 метров. Применение допускается в районах с расчетной сейсмичностью до 6 баллов включительно.
Расшифровка маркировки
Каждая плита имеет условное обозначение. Как правило, это комбинация цифр и букв. В данном случае плита маркируется П 12 где:
1. П – плита;
2. 12 – принятый типоразмер.
Маркировку следует наносить на боковой грани изделия несмываемой краской, устойчивой к внешним воздействиям. Так же следует проставлять дату изготовления, массу.
Материалы и производство
Изготовление плит осуществляется в заводских условиях, посредством металлических формах. Плиты перекрытия шахт выполняются из армированного бетона. Марка бетона по прочности на сжатие, по показателям морозоустойчивости и влагонепроницаемой выбирается исходя из проекта возводимой лифтовой шахты. Сварные арматурные сетки выполнены при помощи контактной точечной сварки во всех местах пересечения арматурных стержней. Для прочности конструкции все соединения должны быть сварены со всех сторон, также подлежат сварке примыкающие друг к другу края стержней по периметру плиты. Плиты перекрытия изготавливаются с закладными деталями, впоследствии предназначенных для соединения элементов с другими конструкциями. Стальные закладные изделия следует изготавливать согласно главе СНиП III-В.5-62 «Металлические конструкции. Правила изготовления, монтажа и приемки». Извлечение изделий из металлической формы следует производить, при достижении бетоном достаточной прочности. Чтобы не происходило разрушения, под воздействием условий внешней окружающей среды металлические части изделия обрабатываются антикоррозийным раствором. Геометрические размеры должны соответствовать размерам, прописанным в проекте. Не допускаются обвалы бетона на поверхности плиты. Не допускается оголение арматурных стержней. Закладные детали, выступающие наружу, должны быть зачищены от наплывов бетона. Плиты, которые прошли проверку, сопровождаются техническим документом. В нем прописана марка бетона, его прочность на сжатие и характеристики по морозостойкости и водонепроницаемости, дата выпуска изделия, завод – производитель, штамп ОТК. Изделия, которые не прошли проверку на качество отправляют на ремонт.
Транспортировка и хранение
Плиты перекрытия шахт должны храниться и перевозиться в рабочем положении. Во время хранения и транспортирования между изделиями следует прокладывать специальные деревянные подкладки, шириной 30 мм.Требуется исключить действия, которые могут привести к нарушению целостности продукции. При всех манипуляциях обязательным является соблюдение техники безопасности. Погрузка, разгрузка, монтаж производить специальной техникой, путем захвата изделий за подъемные петли. Запрещено допускать свободное падение конструкций. Не допускается перемещение изделий волоком. Перевозку можно осуществлять как автомобильным, так и железнодорожным транспортом. В кузове продукция должна быть зафиксирована, чтобы исключить непроизвольное продольное или поперечное движение.

