

О товаре:
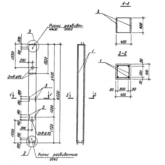
- Длинна: 6520 мм.
- Ширина: 400 мм.
- Высота: 400 мм.
- Вес: 2600 кг.
- ГОСТ, Серия: ТП 901-5-38.87 скачать
- Объем бетона: 1,04 м3
- Геометрический объем: 1,0432 м3
Стандарт изготовления изделия: ТП 901-5-38.87
Колонна К 2 (ТП 901-5-38.87) – унифицированный прочный элемент, имеющий прямоугольную форму и выполненный из железобетона. Конструкции применяются в строительстве бесшатровой водонапорной башни со стальными балками, ее высота составляет восемнадцать метров. Колонны выступают прочным основанием, каркасом, на них устанавливается бак, они способны выдерживать значительные нагрузки. Основные характеристики производства, а также чертежи отражены в ТП 901-5-38-87.Предназначены для использования в несейсмических районах и в районах с расчетной сейсмичностью до 7 баллов.
Расшифровка маркировки
Маркировочное обозначение – это сочетание буквенных и цифровых индексов. В ТП 901-5-38.87 содержится полная информация о расшифровке маркировки К 2 (ТП 901-5-38.87):
1. К - колонна;
2. 2 - несущая способность.
Маркировочные знаки следует наносить несмываемой, влагоустойчивой краской на боковую поверхность железобетонной колонны. На элементе в обязательном порядке указывают дату производства, номер партии, логотип производителя, массу конструкции и печать ОТК. Заводские маркировочные надписи нельзя исправлять.
Основные характеристики и изготовление
Выпускаются колонны К 2 (ТП 901-5-38.87) на заводе, с применением современного оборудования. Изделия изготавливаются в стальных формах с откидными бортами. В качестве основного материала используют тяжелый бетон марки М300 по прочности на сжатие. Марка бетона по морозостойкости принимается не ниже МРЗ75. Марка бетона по прочности, водонепроницаемости, морозостойкости устанавливается индивидуально, исходя из климатических особенностей зоны, где планируется возводить объект. Прочность изделиям придает армирование пространственным арматурным каркасом, который состоит из отдельных сеток, стержней и свариваются при помощи контактной точечной сварки. Применяют горячекатаную стержневую арматуру класса A-III и A-I. В теле железобетонного изделия запроектированы закладные детали, которые изготавливаются из углеродистой стали. Все металлические детали проходят защиту от коррозии, поверхность элементов покрывается специальными составами. Для удобства и быстроты монтажа используют подъемные петли. Прочность бетона в летнее время должна составлять не менее 70% от проектной, а в зимний период не меньше 100%. Каждая выпущенная партия изделий проверяется на качество, проходит контрольные испытания. Тщательно проверяют поверхность конструкций, не должно быть вмятин, трещин, поверхность должна быть ровной и гладкой. Не допускается обнажение арматуры. Все геометрические параметры должны строго соответствовать рабочим чертежам ТП 901-5-38-87. После того, как все проверки будут пройдены, брака не обнаружат, производитель выписывает соответствующие документы, изделия снабжается техническим паспортом, где указывают дату производства, наименование производителя, и информацию о бетоне и арматуре.
Транспортировка и хранение
Готовые, прошедшие все контрольные проверочные испытания колонны К 2 (ТП 901-5-38.87) хранятся на специально оборудованных складских помещениях на ровной поверхности. Конструкции укладывают в горизонтальном положении на деревянные подкладки и прокладки, толщина которых должна быть не менее 40 мм. Складируют, как правило, в штабеля высотой не более двух метров. Маркировка должна хорошо просматриваться. Строительные материалы можно перевозить автомобильным и железнодорожным транспортом. Во время перевозки колонны следует надежно закрепить, чтобы доставить их на объект без повреждений. Погрузочно-разгрузочные работы необходимо проводить с особой аккуратностью и соблюдением техники безопасности.