О товаре:
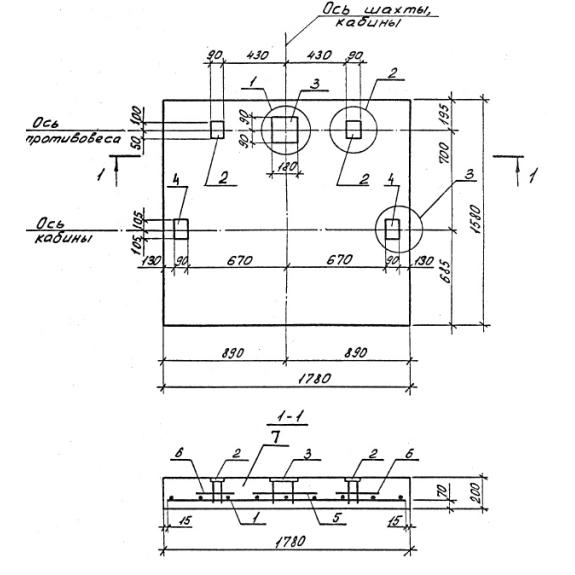
- Длинна: 1580 мм.
- Ширина: 1780 мм.
- Высота: 200 мм.
- Вес: 1400 кг.
- ГОСТ, Серия: Серия 1.189.1-9 скачать
- Объем бетона: 0,56 м3
- Геометрический объем: 0,5625 м3
Стандарт изготовления изделия: Серия 1.189.1-9
Монолитная плита ПЛм 18-16-40 (1.189.1-9) представляет собой железобетонную прямоугольную конструкцию, которая является основанием приямка. Приямок - это собой участок, находящийся ниже уровня площадки первого этажа многоэтажных зданий, в котором располагаются буфера, натяжные механизмы ограничителя скорости, упоры кабины и противовес. Плиты приямка относятся к высокопрочным конструкциям, способным выдерживать нагрузки создаваемые гидроцилиндрами и направляющими кабин, а так же нагрузки, возникающие при срабатывании ловителей или стопорных устройств.
Номенклатурный список Серии 1.189.1-9 включает в себя плиты приямка для строительства лифтовых шахт с грузоподъемностью от 320 до 630 килограмм, со скоростью движения кабины 0,71 и 1,0 м/с, с различным расположением противовеса относительно кабины, для жилых зданий 10-17 этажей. Более подробная информация по условиям эксплуатации прописана в нормативном документе изготовления. Предел огнестойкости плит составляет 1 час согласно ГОСТ 17538-82.
Расшифровка маркировки
Железобетонные изделия согласно рабочим чертежам наделяются марками, которые состоят из буквенных и числовых индексов, образующих несколько групп обозначения. Маркировка ПЛм 18-16-40 (1.189.1-9) содержит в себе обозначение типа конструкции и его номинальные размеры в дециметрах, а именно:
1. ПЛм - монолитная плита приямка;
2. 18 - ширина;
3. 16 - длина;
4. 40 - грузоподъемность лифта (в десятках кг).
На верхнюю поверхность плит приямка, при помощи штампования, наносятся маркировочные надписи: марка изделия и производителя, дата выпуска, печать ОТК.
Материалы и производство
Так как от качества исполнения монолитных плит приямка ПЛм 18-16-40 (1.189.1-9) во многом будет зависеть срок службы и безопасность при эксплуатации всего сооружения лифтовой шахты, регламентировано осуществлять их производство на заводах железобетонных конструкций с проведением систематического пооперационного контроля над качеством согласно с требованиями, указанными в Серии 1.189.1-9. В основе плит лежит тяжелый бетон с классами по прочности на сжатие В12,5, В15. Состав бетонной смеси, способы уплотнения, режимы термовлажностной обработки, должны обеспечивать получение бетона предусмотренных марок.
Армирование представляет собой процесс совместной работы металла и бетона. Плиты армируются сетками из проволоки ВрI, сборка которых должна выполняться на специальных кондукторах при помощи контактной точечной электросварки. В теле данных конструкций так же запроектированы закладные детали из полосовой стали и прокатных уголков марки ВСт3пс6 и анкерные стержни - из стали АIII, которые предназначены для сопряжения со смежными строительными элементами и крепежа оборудования.
Готовые железобетонные изделия должны приниматься отделом технического контроля на основании пройденных испытаний. Методы контроля должны соответствовать ГОСТ 17538-82.
Транспортировка и хранение
Монолитные плиты приямка ПЛм 18-16-40 (1.189.1-9) следует хранить в горизонтальном положении, уложенные в штабеля. Штабеля следует устанавливать так, чтобы они не мешали выполнять работу обслуживающему персоналу и маркировочные надписи плит были доступны к прочтению. При складировании и перевозке необходимо применять инвентарные прокладки, которые обеспечивают плитам устойчивость и предотвращают их разрушение.
Транспорт для перевозки плит приямка должен быть оборудован опорными и крепежными приспособлениями, гарантирующим изделиям неподвижность на всем протяжении пути.

