О товаре:
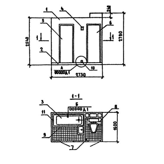
- Длинна: 2730 мм.
- Ширина: 1600 мм.
- Высота: 2780 мм.
- Вес: 4470 кг.
- ГОСТ, Серия: Серия 1.188-5 скачать
- Объем бетона: 1,78 м3
- Геометрический объем: 12,143 м3
Стандарт изготовления изделия: Серия 1.188-5
Кабина санитарно-техническая типа «Колпак» для зданий с теплым чердаком 2СК 25 лт-02 в (1.188-5) - это железобетонный пустотелый короб прямоугольной формы. Данное сооружение составляет будущее помещение уборных и ванных комнат. Собираемая на заводе кабина, состоит из объемного блока типа «Колпак» - корпуса и ребристой плиты - днища. В конструкциях предусматривается вентиляция через отверстия в стенках, соединяющих помещения кабины с вентиляционными каналами. Внутренние и наружные поверхности стен и потолок 2СК 25 лт-02 в (1.188-5) гладкие, и подготовленные под клеевую окраску или оклейку обоями. Многообразие конфигураций санитарно-технических кабин позволяет реализовывать типовые проекты с совмещенными и раздельными санузлами. Кабины, разработанные по Серии 1.188-5 предусматривают наличие всех сантехнических и осветительных устройств, туалетной фурнитуры, а также там монтируются узлы трубопроводов (укомплектование согласовывается с заказчиком). Предназначены данные объемные сооружения для 5 и 9 этажных жилых домов с утепленным чердачным посещением.
Расшифровка маркировки
Марка железобетонных кабин принята буквами и цифрами. Каждая буквенная и цифровая аббревиатура несет в себе смысловую нагрузку об основных характеристиках, а также конструктивных особенностях изделия каждого исполнения. Рассматривая подробно расшифровку марки 2СК 25 лт-02 в (1.188-5), можно увидеть следующее:
1. 2 - вариант исполнения - раздельная с углублением под вентиляционную шахту;
2. СК - санитарно-техническая кабина;
3. 25 - округленная высота (в дм);
4. л - вариант исполнения (пр - правый, л - левый);
5. т - тяжелый цементный бетон;
6. 02 - вариант установки в каркасе здания;
7. в - с ревизией для верхнего этажа.
Материалы и производство
Железобетонные помещения для уборных и ванных комнат изготавливают в заводских условиях, на основании чертежей и пометок из Серии 1.188-5. Объемный блок изготавливается из тяжелого цементного бетона марки М200, так же регламентом изготовления допускается применение для производства керамзибетона. Ингредиенты бетонной смеси должны быть рационально подобраны и качественно уплотнены.
Для того чтобы избежать разрушения санитарно-технической кабины, в нее закладываю стальную арматуру, поверхность которой отлично сцепляясь с бетоном, образует монолитно изделие. 2СК 25 лт-02 в (1.188-5) армируется собранным на кондукторах пространственным каркасом. В свою очередь данный каркас состоит из плоских арматурных сеток и каркасов, выполняемых из обыкновенной проволоки класса Вр-I и стержневой горячекатаной арматурной стали класса А-III. Для удобства подъема кабины с помощью самобалансирующих траверс в конструкции предусмотрены строповочные петли из стали класса А-I. Проектное положение пространственного каркаса в процессе бетонирования обеспечивается с помощью пластмассовых фиксаторов.
Поставка кабин потребителю осуществляется по достижении бетоном отпускной прочности, которая должна быть 70% от проектной марки по прочности на сжатие в теплый период года и 80% - в холодный период.
Хранение и транспортировка
Собирать и складировать железобетонные кабины типа «колпак» для зданий с теплым чердаком следует на выровненном горизонтальном основании с постановкой деревянных прокладок толщиной не менее 50 миллиметров. Сборка кабин должна осуществляться на двух прокладках, установленных во всю длину конструкции, так, чтобы концы прокладок располагались под закладными деталями. Подъем, погрузку, разгрузку и монтаж конструкций следует осуществлять с использованием специальной траверсы, гарантирующей одновременный подъем за четыре петли. Складируются 2СК 25 лт-02 в (1.188-5) в один ярус, а перевозка осуществляется транспортом, обладающим необходимой грузоподъемностью.

