О товаре:
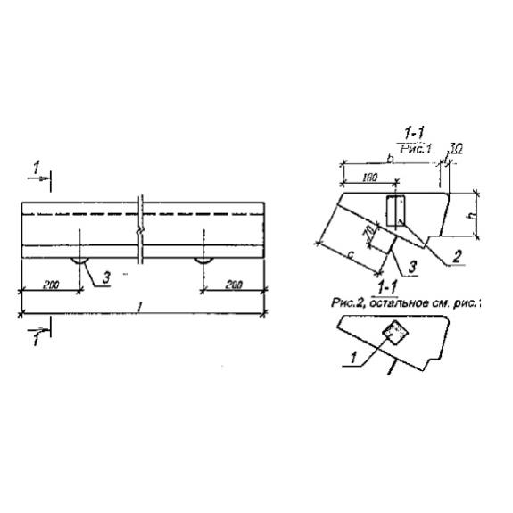
- Длинна: 900 мм.
- Ширина: 290 мм.
- Высота: 168 мм.
- Вес: 97 кг.
- ГОСТ, Серия: Серия Б1.055.1-1.01 скачать
- Объем бетона: 0,04 м3
- Геометрический объем: 0,0438 м3
Стандарт изготовления изделия: Серия Б1.055.1-1.01
Лестничная ступень основная ЛС 9-17 Б-1 л (Б1.055.1-1.01) является строительным элементом, выполненным на основе тяжелого бетона. Форма изделия представлена с треугольным сечением, а длина принята в соответствии с шириной лестничного марша, для которого будет применена ступень. Для создания более привлекательного эстетичного внешнего вида лицевая поверхность выполнена гладкой. Регламент выпуска линейки аналогичных конструкций предусматривает изготовление элементов лестниц двух видов - левых и правых. Это обусловлено различием в разновидностях исполнения лестничных подъемов - они могут быть против и по часовой стрелке. В целом, такая конструкция как ЛС 9-17 Б-1 л (Б1.055.1-1.01) предназначена для обустройства наружных и внутренних лестничных сходов в постройках с отоплением и без него, также может применяться на открытом воздухе при температурном режиме до минус сорока градусов по Цельсию.
Расшифровка маркировки
Для того чтобы обозначить железобетонное изделие, ему присваивается маркировка, состоящая из буквенно-числовой аббревиатуры, каждый символ которой содержит в себе информацию о конструктивных особенностях ступени. Так расшифровка ЛС 9-17 Б-1 л (Б1.055.1-1.01) будет выгладить следующим образом:
1. ЛС - лестничная ступень основная;
2. 9 - длина в дм;
3. 17 - высота в см;
4. Б - бетонная неармированная конструкция;
5. 1 - наличие закладных деталей;
6. л - левое исполнение.
Несмываемой краской контрастного оттенка на боковой части готового элемента наносится необходимая при складировании, транспортировании и эксплуатации информация. К таким данным относятся: штамп отдела технического контроля, название завода, вес, датировка и, непосредственно, сама маркировка.
Материалы и производство
Ключевым регламентом, на который производитель основывается при выпуске лестничных ступеней является Серия Б 1.055.1-1.01. До начала производственного процесса завод-изготовитель разрабатывает технические условия и технологические правила, определяющие основные способности производства и контроля выпуска ЛС 9-17 Б-1 л (Б1.055.1-1.01). Для формования качественной лестничной ступени применяется тяжелый бетон по прочности на сжатие не ниже В15, плотностью 2400 кг/м3, если изделие будет эксплуатироваться для наружных лестничных сходов или для внутренних лестниц в сооружениях до пяти этажей, класс бетона определяется при проектировании. Марка бетонной смеси по морозостойкости аналогично определяется в определенном проекте, но должна быть не ниже F100 (исключение составляют элементы лестничных маршей, применение которых будет осуществляться в агрессивных средах). Отпускная прочность бетона в холодный период года равна 85%, а в летний период данный показатель должен быть не менее семидесяти процентов.
Приемка ЛС 9-17 Б-1 л (Б1.055.1-1.01) происходит по показателям трещиностойкости, истираемости, прочности и другим, также осуществляется оценка соответствия геометрических параметров рабочим чертежам. Лицевая поверхность лестничного элемента, а также его качество должны удовлетворять категории А2.
Хранение и транспортировка
Бетонные лестничные ступени основные складируются в контейнерах или в специальных пакетах. Перед формированием в штабель, изделия необходимо рассортировать по маркам и типоразмерам. Количество элементов в ряде не должно превышать пяти. Использование деревянного подкладочного инвентаря является обязательным. Перевозка ЛС 9-17 Б-1 л (Б1.055.1-1.01) осуществляется в аналогичном хранению расположении, различными видами специализированного транспорта, с применением специальных креплений, которые помогут избежать смещения изделий, их навалов и сколов.

