О товаре:
- Длинна: 8700 мм.
- Ширина: 560 мм.
- Высота: 560 мм.
- Вес: 2550 кг.
- ГОСТ, Серия: Серия 3.407.1-139 скачать
- Объем бетона: 1,02 м3
- Геометрический объем: 2,7283 м3
Стандарт изготовления изделия: Серия 3.407.1-139
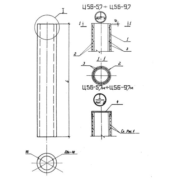
Оболочки цилиндрические Ц 56-8,7-3 (3.407.1-139) – это железобетонные изделия цилиндрической формы, предназначенные для устройства надолб. В свою очередь, конструкции надолб применяются для защиты опор, устанавливаемых во временно затапливаемых паводковыми водами поймах. Надолбы выполняются из одиночных или сдвоенных центрифугированных оболочек.
Расшифровка маркировки
Согласно Серии 3.407.1-139 цилиндрические оболочки имеют маркировочное обозначение. Марки отражают основные конструктивные особенности изделий и позволяют легко ориентироваться в номенклатурном ряду железобетонной продукции. Рассмотрим более детально на примере как расшифровывается маркировка Ц 56-8,7-3 (3.407.1-139):
1. Ц – оболочка цилиндрическая;
2. 56 – диаметр оболочки;
3. 8,7 – длина в метрах;
4. 3 – тип армирования.
Маркировочные знаки принято наносить на изделие несмываемой краской при помощи трафаретов и штампов. Краска должна удовлетворять следующим показателям: влагоустойчивость, контрастность цвета, устойчивость к резким перепадам температурного режима. Помимо марки на конструкции ставятся штамп ОТК, дата производства, наименование изготовителя, масса.
Материалы и производство
Оболочки цилиндрические Ц 56-8,7-3 (3.407.1-139) производят в металлических опалубках унифицированных цилиндрических стоек опор методом центрифугирования. Спираль на концевых участках элементов замыкают в кольцо нахлесткой 150 мм и сваривают. Спираль необходимо привязать специальной проволокой к размещенной в форме продольной арматуре через три стержня в последовательном порядке по винтовой линии. Элементы изготавливаются из тяжелого бетона, класс по прочности на сжатие не ниже B40. Морозостойкость предусмотрена не ниже F150, водонепроницаемость – W6. Марки бетонов для надолб, устанавливаемых в районах с расчетной температурой ниже -40, должны быть скорректированы в соответствии с данными опыта эксплуатации железобетонных конструкций в этих районах. Для продольного армирования оболочек применяется стержневая горячекатанная арматурная сталь периодического профиля класса AIII. В качестве поперечной арматуры принимается стержневая горячекатанная арматурная сталь класса AI, а также обыкновенная арматурная проволока класса BpI. Материал металлических деталей и болтов – это углеродистая сталь для сварных конструкций. Марки стали применяют в зависимости от толщины элементов и от расчетной температуры воздуха. Защитный слой рабочей арматуры должен составлять от 17 мм до 30 мм соответственно для оболочек диаметром 56 см и 80 см. Конструкции, применяемые на линиях, проходящих в районах с агрессивной средой, следует защищать гидроизоляцией. Металлические детали после приварки к закладным частям подлежат специальной окраске. Приемка конструкций осуществляется в строгом соответствии с указаниями ГОСТ 13015.1-81. Прочность бетона изделий в момент отпуска должна составлять 100% в зимнее время и 75% – в летнее время. Отклонение размеров элементов должны соответствовать допустимым значениям, указанным в Серии изготовления.
Хранение и транспортировка
Перевозка и складирование оболочек цилиндрических Ц 56-8,7-3 (3.407.1-139) производятся по указаниям ГОСТ 13015.4-81. Территории для хранения следует заранее подготовить. Поверхность складской площадки обязана быть плотной и ровной. Погрузочно-разгрузочный комплекс работ следует осуществлять, соблюдая правила техники безопасности, которые исключат вероятность повреждения изделий. Элементы при транспортировке и складировании опираются на подкладки. Величина подкладочного материала должна быть не менее 30 мм. Для элементов с круглым поперечным сечением подкладки и прокладки должны иметь упоры против раскатывания.

