О товаре:
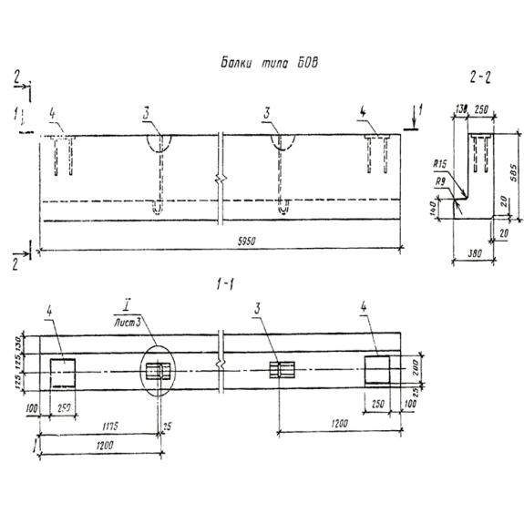
- Длинна: 5950 мм.
- Ширина: 380 мм.
- Высота: 585 мм.
- Вес: 2450 кг.
- ГОСТ, Серия: ГОСТ 24893.0-81 скачать
- Объем бетона: 0,98 м3
- Геометрический объем: 1,3227 м3
Стандарт изготовления изделия: ГОСТ 24893.0-81
Балки с консольным выступом БОВ 1 тс – железобетонные элементы сплошного прямоугольного сечения. Для опоры имеется специальный выступ. Изделия запроектированы на работу в условиях среды различного уровня агрессивности (оптимально слабо- или средней степени), а также в условиях ветровых, снеговых нагрузок, в том числе динамических ударов, колебаний и вибраций, изгибах на кручение и расчетной поперечной силы балки до 137,3 кН. Обвязочная балка призвана укрепить каркас здания и создать надежное и безопасное в эксплуатации сооружение.
1. Варианты написания маркировки
Знаки буквенно-цифрового обозначения записывают разными способами:
1. БОВ 1 тс;
2. БОВ 1-тс.
2. Основная сфера применения
Балки БОВ 1 тс применяют в строительстве навесных наружных и внутренних стен толщиной до 400 мм из кирпича или легкобетонных камней производственных промышленных зданий основного и вспомогательного назначения. Допускается также монтировать перемычки в местах перепада высот. Нередко устанавливают железобетонные балки с консольным выступом в строениях, эксплуатируемых в условиях сейсмической активностью до 9 баллов по шкале Рихтера. Кроме того, балки используют в отапливаемых и неотапливаемых зданиях и сооружениях. По сути, обвязочные балки – это универсальные изделия, так как могут быть установлены в качестве оконных перемычек или использованы в перекрытии проемов другого типа.
В зависимости от места установки и конкретных условий эксплуатации балки могут быть установлены под плитой или над ней. Их также укладывают на стойки-консоли колонн, к которым бруски крепят при помощи приварных закладных деталей.
3. Обозначение маркировки
Маркировочные знаки пишут согласно требованиям действующего стандарта – ГОСТ 24893.0-81. В буквенно-цифровой шифр включают ряд данных, которые облегчают сортировку изделий по видам и маркам. К основным данным добавляют дату выпуска партии ЖБИ, Обозначение балки БОВ 1 тс читается следующим образом:
1. БОВ – тип конструкции, балка обвязочная с выступов в виде консоли;
2. 1 – группа или класс несущей способности;
3. тс – характеристики применяемого бетона, где т – тяжелые бетоны, с – сейсмическая устойчивость изделий (до 8 баллов по шкале Рихтера).
Технические характеристики:
Длина = 5950;
Ширина = 380;
Высота = 585;
Вес = 2450;
Объем бетона = 0,98;
Геометрический объем = 1,3227.
4. Применяемые материалы и технологии
Балки с консольным выступом БОВ 1 тс формуют в условиях современного производства по запатентованной технологии виброформования в металлических опалубках. Готовая продукция подвергается обязательному комплексу приемо-сдаточных испытаний. Прилагается технический паспорт.
В качестве основных применяемых материалов используют тяжелые бетоны марки прочности М250. В соответствии с параметрами и расчетами рабочего проекта, а также конкретными условиями эксплуатации устанавливаются заданные характеристики применяемых бетонов по морозостойкости, водонепроницаемости и трещиностойкости. При использовании балок в условия агрессивной сульфатной среды и высокой влажностью применяют бетоны, в состав которых вводятся специальные добавки, повышающие эксплуатационные свойства изделий.
Повышение параметров прочности осуществляется армированием балок стальными сварными каркасами и плоскими арматурными сетками, изготавливаемые из стали класса А-100 и А-300. Для удобства подъема на высоту и перемещения балки в проектное положение имеются две монтажные петли из гладкой арматурной стали А-100. Впоследствии их срезают или загибают. Для стыковки перемычки с элементами здания имеются закладные детали М1. Все стальные компоненты покрывают составами, предупреждающими развитие коррозионных процессов. Допускается использовать цинконаполненные краски и грунтовки.
5. Транспортировка и хранение
Балки консольные БОВ 1 тс перевозят специализированным автомобильным, железнодорожным или речным транспортом. Погрузка выполняется в соответствии с нормой загрузки. В процессе участвует спецтехника повышенной грузоподъемности. Обратите внимание, что строповка с грузозахватными механизмами подъемных кранов осуществляется при помощи специальных устройств, не допускается для этого использовать стальные канаты или тросы. Изделия в автомашины или иные транспортные средства укладывают в рабочее положение – горизонтальная ориентация элементов. Между собой балки отделяются деревянными инвентарными подкладками, которые призваны защитить бетонную поверхность от появления сколов, выбоин и прочих дефектов. Корректное выполнение всех операций, начиная от погрузки и заканчивая выгрузкой элементов по месту использования, соблюдение техники безопасности и грамотная перевозка позволяют обеспечить 100% сохранность готовой продукции для монтажа. Складирование осуществляется штабелями в 2-3 ряда на тщательно выровненном основании.

